QQ:924542564
邮箱:info@a-meter.com
地址:上海市嘉定区丰茂路580号B区3楼
XALD605雷达物位计
工作原理
高频微波脉冲通过天线系统发射并接收,雷达波以光速运行,运行时间可以通过电子部 件被转换成物位信号。一种特殊的时间延伸方法可以确保稳定和精确的测量。 即使工况比较复杂的情况下,存在虚假回波,用最新的微处理技术和调试软件也可以准确的 识别出物位的回波。
测量原理:
高频微波脉冲通过天线系统发射并接收,雷达波以光速运行,运行时间可以通过电子部件被转换成物位信号。一种特殊的时间延伸方法可以确保稳定和精确的测量。即使工况比较复杂的情况下,存在虚假回波,用微处理技术和调试软件也可以准确的识别出物位的回波。

输入
天线接收反射的微波脉冲并将其传输给电子线路,微处理器对此信号进行处理,识别出微脉冲在物料表面所产生的回波。正确的回波信号识别由智能软件完成,精度可达到毫米级。距离物料表面的距离D与脉冲的时间行程T成正比: D=C×T/2 (其中C为光速)因空罐的距离E已知, 则物位L为: L=E-D
输出
通过输入空罐高度E(=零点),满罐高度F(=满量程)及一些应用参数来设定,应用参数将自动使仪表适应测量环境。对应于4…20mA输出。
主要参数:
应 用:适应各种存储容器或过程计量环境,液体、浆料、固体。
测量范围:30米
过程连接:法兰
过程温度:-20-220℃
过程压力:-1.0-40bar
重 复 性 :± 3mm
精 度:< 0.1%
频率范围:6.3GHz
防爆等级:Exd II BT4
防护等级:IP68
信号输出:4…20mA/HART(两线)
安装
● 建议距离(1)罐体内壁至安装短管的外壁应大于罐直径的1/6;
● 离罐壁最小距离为300mm;
● 不能安装在入料口的上方(4)。
● 不能安装在中心位置(3),如果安装在中央,会产生多重虚假回波,干扰回波会导致信号丢失。
● 如果不能保持仪表与罐壁的距离,罐壁上的介质会黏附造成虚假回波,在调试仪表的时候应该进行虚假回波存储。
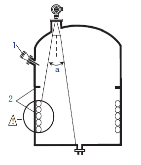
罐内安装
● 在 信号波束内, 应避免有如下安装物
(1):例如限位开关,温度传感器等。
● 对称装置(2),如真空环,加热线圈,挡板等等。
● 如果罐内有(1)(2)干涉物件,应采用导波管进行测量。
安装选择
● 天线尺寸:天线越大,波束角越小,干扰回波将越弱。
● 天线调整:将天线调整到最佳测量位置。(见样本第8页)
● 导波管:导波管安装用来避免干扰回波。(见样本第9页)
产品选型


